Động cơ công nghiệp của bạn đột ngột ngừng hoạt động hoặc bốc khói? Thiết bị gia dụng như bình nóng lạnh không tự ngắt? Nguyên nhân hàng đầu thường đến từ sự cố quá tải nhiệt. Đây chính là lúc Rơ le nhiệt (Thermal Relay) phát huy vai trò người hùng thầm lặng, bảo vệ thiết bị của bạn khỏi những hư hỏng đắt đỏ.
Bài viết này sẽ là cẩm nang toàn diện, giúp bạn hiểu rõ từ A-Z về rơ le nhiệt, từ cấu tạo, nguyên lý hoạt động đến cách lựa chọn, lắp đặt và khắc phục lỗi.
Rơ le nhiệt là gì? “Người vệ sĩ” cho mạch điện
Rơ le nhiệt là thiết bị bảo vệ mạch điện, tự động ngắt khi dòng điện quá tải gây sinh nhiệt vượt ngưỡng cho phép. Nó hoạt động dựa trên sự giãn nở của thanh kim loại kép (lưỡng kim) để bảo vệ động cơ và các thiết bị điện khỏi nguy cơ cháy hỏng.

Rơ le nhiệt là một loại khí cụ điện tự động, có nhiệm vụ đóng ngắt mạch điện khi phát hiện cường độ dòng điện vượt quá giá trị cho phép, gây ra sự gia tăng nhiệt năng một cách đột ngột. Mục tiêu chính của nó là bảo vệ động cơ và các thiết bị điện khỏi tình trạng quá tải nhiệt, cháy nổ.
Điểm khác biệt cốt lõi của rơ le nhiệt so với các loại rơ le khác là nó không tác động tức thời khi có dòng điện quá lớn (như Aptomat) mà cần một khoảng thời gian nhất định để nhiệt độ tăng lên. Điều này giúp tránh ngắt mạch sai trong trường hợp động cơ khởi động hoặc chỉ quá tải trong thời gian ngắn.
Thay vì đóng cắt trực tiếp mạch lực công suất lớn, rơ le nhiệt tác động vào mạch điều khiển của Contactor để ngắt nguồn, giúp tăng độ bền và an toàn.
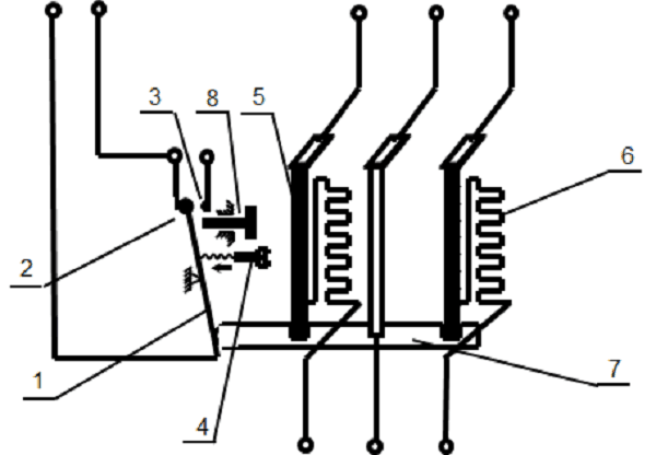
Cấu tạo chi tiết của Rơ le nhiệt
Rơ le nhiệt được cấu tạo từ các bộ phận chính gồm: Thanh lưỡng kim (bộ phận cảm biến nhiệt), dây đốt nóng (tạo nhiệt từ dòng điện), hệ thống tiếp điểm (đóng/ngắt mạch), đòn bẩy, và vít điều chỉnh dòng điện tác động.

Để hoạt động hiệu quả, rơ le nhiệt được cấu thành từ các bộ phận chính sau:
- •Thanh lưỡng kim (Bimetal): Đây là “trái tim” của rơ le, gồm hai tấm kim loại dẫn điện có hệ số giãn nở vì nhiệt khác nhau (ví dụ: thép và đồng) được ghép chặt vào nhau. Khi nhiệt độ thay đổi, thanh này sẽ cong về phía kim loại có độ giãn nở thấp hơn.
- •Dây đốt nóng: Được mắc nối tiếp với mạch chính, dòng điện của thiết bị sẽ chạy qua đây. Khi xảy ra quá tải, dây này sẽ sinh ra nhiệt lượng lớn, tác động lên thanh lưỡng kim.
- •Hệ thống tiếp điểm: Bao gồm một tiếp điểm thường đóng (NC – Normally Closed) dùng để ngắt mạch điều khiển và một tiếp điểm thường mở (NO – Normally Open) dùng để báo hiệu trạng thái lỗi.
- •Vít chỉnh dòng điện: Cho phép người dùng tinh chỉnh ngưỡng dòng điện tác động của rơ le cho phù hợp với công suất tiêu thụ điện của động cơ.
- •Đòn bẩy và cơ cấu Reset: Là hệ thống cơ khí liên kết giữa thanh lưỡng kim và các tiếp điểm. Nút Reset dùng để khôi phục rơ le về trạng thái ban đầu sau khi sự cố đã được khắc phục.
- •Vỏ bảo vệ: Thường làm từ vật liệu Polymer hoặc Polycarbonate cao cấp, có khả năng cách điện và chống chịu va đập.
Nguyên lý hoạt động: Đơn giản nhưng hiệu quả
Khi dòng điện quá tải, dây đốt nóng sinh nhiệt làm thanh lưỡng kim bị cong. Thanh lưỡng kim cong sẽ đẩy vào đòn bẩy, làm mở tiếp điểm NC (thường đóng) để ngắt mạch điều khiển contactor, từ đó ngắt nguồn điện cấp cho động cơ.

Nguyên lý hoạt động của rơ le nhiệt dựa trên hiệu ứng giãn nở của vật rắn khi nhiệt độ tăng. Quá trình này diễn ra theo 4 bước:
- Sinh nhiệt: Ở trạng thái bình thường, dòng điện đi qua dây đốt nóng và sinh ra một lượng nhiệt không đáng kể. Khi quá tải, dòng điện tăng cao, gây ra một phản ứng toả nhiệt mạnh mẽ, làm dây đốt nóng nóng lên nhanh chóng.
- Giãn nở & Tác động: Lượng nhiệt này được truyền đến thanh lưỡng kim. Do cấu tạo từ hai kim loại có độ giãn nở khác nhau, thanh lưỡng kim bắt đầu cong lại.
- Kích hoạt đòn bẩy: Độ cong của thanh lưỡng kim đạt đến một mức nhất định sẽ tác động vào đòn bẩy, làm thay đổi trạng thái của các tiếp điểm.
- Ngắt mạch: Tiếp điểm thường đóng (NC) sẽ mở ra, ngắt mạch cuộn dây contactor, khiến contactor nhả ra và ngắt nguồn điện cấp cho động cơ. Đồng thời, tiếp điểm thường mở (NO) sẽ đóng lại, có thể được sử dụng để kích hoạt đèn báo hoặc còi hiệu.
Sau khi sự cố được xử lý và thanh lưỡng kim nguội đi, người vận hành cần nhấn nút Reset để đưa rơ le về trạng thái hoạt động ban đầu.
Phân loại Rơ le nhiệt phổ biến hiện nay
Rơ le nhiệt được phân loại chủ yếu theo số pha (1 pha và 3 pha) và theo phương thức đốt nóng (trực tiếp, gián tiếp, và hỗn hợp), tùy thuộc vào ứng dụng dân dụng hay công nghiệp và mức công suất của thiết bị cần bảo vệ.

Rơ le nhiệt được phân loại dựa trên nhiều tiêu chí khác nhau để phù hợp với từng nhu cầu cụ thể.
| Loại Rơ le | Đặc điểm nổi bật | Ứng dụng tiêu biểu |
|---|---|---|
| Theo pha | ||
| 1 pha | Thiết kế nhỏ gọn, dòng điện thấp, thường có chế độ reset tự động. | Bình nóng lạnh, nồi cơm điện, tủ lạnh, bàn là. |
| 3 pha | Dòng điện lớn, cấu tạo phức tạp hơn, thường có thêm chức năng bảo vệ mất pha. | Bảo vệ động cơ trong các hệ thống công nghiệp như máy bơm trong ngành hóa chất xử lý nước, máy nén khí, băng tải. |
| Theo phương thức đốt nóng | ||
| Đốt nóng trực tiếp | Dòng điện chạy thẳng qua thanh lưỡng kim. | Các thiết bị có công suất nhỏ. |
| Đốt nóng gián tiếp | Dòng điện chạy qua dây đốt nóng riêng biệt, nhiệt truyền sang thanh lưỡng kim. | Các hệ thống công suất lớn và trung bình. |
| Hỗn hợp | Kết hợp cả hai phương thức trên để tăng độ nhạy và chính xác. | Các ứng dụng đòi hỏi độ tin cậy cao. |
Ứng dụng thực tế trong Công nghiệp và Dân dụng
Trong công nghiệp, rơ le nhiệt bảo vệ động cơ của máy bơm, băng tải, máy nén. Trong dân dụng, chúng được tích hợp trong bình nóng lạnh, tủ lạnh, ấm siêu tốc để tự động ngắt khi quá nhiệt, đảm bảo an toàn.
- •Trong Công nghiệp: Rơ le nhiệt là thiết bị không thể thiếu trong các tủ điện điều khiển động cơ 3 pha (3kW, 4.5kW, 11kW, …). Chúng bảo vệ máy bơm, quạt thông gió, máy trộn trong các nhà máy sản xuất, hệ thống tháp xử lý khí thải (Scrubber), đảm bảo dây chuyền hoạt động ổn định.
- •Trong Dân dụng: Bạn có thể tìm thấy rơ le nhiệt trong bình nóng lạnh (tự ngắt khi nước quá 80°C), tủ lạnh (bảo vệ block nén), ấm siêu tốc và bàn là (tự ngắt khi đạt nhiệt độ cài đặt).
Hướng dẫn chọn và đấu nối Rơ le nhiệt An toàn, Chính xác
Để chọn rơ le nhiệt, hãy chọn dải dòng điện bằng 1.2-1.4 lần dòng định mức của động cơ. Khi đấu nối, luôn ngắt nguồn điện, kết nối mạch lực (đầu vào/ra) và mạch điều khiển (tiếp điểm 95-96) theo đúng sơ đồ kỹ thuật.
Việc lựa chọn và đấu nối đúng cách quyết định đến hiệu quả bảo vệ của rơ le.
Bước 1: Lựa chọn Rơ le nhiệt
- Xác định dòng định mức (Iđm): Đọc thông số này trên nhãn của động cơ.
- Chọn dải điều chỉnh phù hợp: Dải dòng điện điều chỉnh của rơ le phải chứa giá trị `1.2 x Iđm` (đối với tải nhẹ) đến `1.4 x Iđm` (đối với tải nặng). Ví dụ, động cơ có Iđm = 10A, bạn nên chọn rơ le có dải điều chỉnh trong khoảng 12A – 14A.
- Kiểm tra tính tương thích: Lựa chọn rơ le nhiệt và contactor cùng hãng sản xuất (ví dụ: LS, Schneider, Fuji) để đảm bảo lắp đặt cơ khí vừa vặn và hoạt động đồng bộ.
- Chọn kiểu chân cắm: Ưu tiên loại có chân cắm trực tiếp vào contactor để hệ thống gọn gàng và chắc chắn.
Bước 2: Đấu nối Rơ le nhiệt
- Đấu mạch lực: Kết nối 3 cọc đầu vào (L1, L2, L3) của rơ le với 3 cọc đầu ra của contactor. Ba cọc đầu ra (T1, T2, T3) của rơ le sẽ được nối với động cơ.
- Đấu mạch điều khiển: Nối tiếp điểm thường đóng (NC, ký hiệu 95-96) của rơ le vào mạch điều khiển cuộn dây contactor.
- Đấu mạch báo lỗi (Tùy chọn): Nối tiếp điểm thường mở (NO, ký hiệu 97-98) với đèn báo hoặc còi hiệu.
- Chỉnh định dòng: Dùng tua vít xoay vít chỉnh dòng trên rơ le đến giá trị đã tính toán ở bước lựa chọn.
- Kiểm tra: Cấp nguồn và kiểm tra hoạt động của hệ thống ở chế độ không tải và có tải.
Các lỗi thường gặp và Cách khắc phục nhanh chóng
Câu trả lời ngắn: Các lỗi thường gặp bao gồm rơ le nhảy sớm (chỉnh dòng quá thấp), không ngắt khi quá tải (hỏng thanh lưỡng kim), và nút reset kẹt. Việc khắc phục bao gồm điều chỉnh lại dòng điện, kiểm tra và thay thế rơ le nếu cần thiết.
| Lỗi | Nguyên nhân có thể | Giải pháp khắc phục |
|---|---|---|
| Rơ le nhảy sớm (trip) | Chỉnh định dòng điện quá thấp so với tải thực tế. | Tăng vít chỉnh dòng lên khoảng 10-15% và theo dõi. Kiểm tra xem động cơ có bị kẹt cơ khí không. |
| Không ngắt khi quá tải | Thanh lưỡng kim bị hỏng, kẹt hoặc tiếp điểm bị dính. | Ngắt điện, dùng đồng hồ VOM đo thông mạch tiếp điểm NC (phải thông mạch, điện trở ~0Ω khi nguội). Nếu điện trở lớn hoặc không thông, cần thay thế rơ le mới. |
| Nút Reset không hoạt động | Cơ cấu cơ khí bên trong bị kẹt do bụi bẩn hoặc hư hỏng. | Thử vệ sinh khe hở quanh nút Reset. Nếu không được, đây là dấu hiệu rơ le đã hỏng và cần thay thế. |
| Rơ le quá nóng | Môi trường lắp đặt quá nóng hoặc ẩm ướt, tiếp xúc đấu nối lỏng lẻo. | Lắp đặt rơ le ở nơi khô ráo, thoáng mát. Siết lại tất cả các ốc vít đấu nối. |
FAQ – Giải đáp các câu hỏi thường gặp
1. Rơ le nhiệt có tự động reset không?
Phần lớn rơ le nhiệt công nghiệp yêu cầu reset bằng tay (Manual Reset) để người vận hành phải kiểm tra nguyên nhân sự cố trước khi khởi động lại. Các loại dùng trong dân dụng thường có chế độ reset tự động (Auto Reset).
2. Làm sao để kiểm tra rơ le nhiệt còn tốt hay không?
Ngắt nguồn điện, sử dụng đồng hồ VOM ở thang đo điện trở (Ohm). Đo hai chân tiếp điểm NC (95-96) phải cho giá trị gần bằng 0. Đo hai chân tiếp điểm NO (97-98) phải cho giá trị vô cực. Nếu kết quả khác, rơ le đã hỏng.
3. Nên chọn rơ le nhiệt của thương hiệu nào trong năm 2025?
Các thương hiệu uy tín như LS, Schneider Electric, và Fuji Electric luôn là lựa chọn hàng đầu nhờ độ bền và độ chính xác cao. Việc lựa chọn phụ thuộc vào ngân sách và tính tương thích với contactor hiện có.
4. Có thể dùng rơ le nhiệt 3 pha cho động cơ 1 pha không?
Có thể, nhưng cần phải đấu nối đúng kỹ thuật (mắc nối tiếp các cực) để đảm bảo dòng điện đi qua cả 3 thanh lưỡng kim, giúp rơ le hoạt động chính xác và không bị nhảy sai.
Cập nhật 2025: Các model rơ le nhiệt thế hệ mới thường tích hợp sẵn chức năng bảo vệ mất pha, giúp bảo vệ động cơ toàn diện hơn với mức giá khởi điểm chỉ từ 200.000 VND.
Kết luận
Rơ le nhiệt là một thiết bị nhỏ bé nhưng có vai trò cực kỳ quan trọng trong việc đảm bảo an toàn và tuổi thọ cho động cơ điện. Việc hiểu rõ nguyên lý, lựa chọn và sử dụng đúng cách không chỉ giúp bạn bảo vệ tài sản mà còn góp phần duy trì sự ổn định cho toàn bộ hệ thống sản xuất và sinh hoạt.
Để tìm hiểu thêm về các thiết bị và hóa chất công nghiệp khác, hãy khám phá các bài viết chuyên sâu trên website của chúng tôi.





